德国TYCO泰科进口阀门
 英国SpiraxSarco斯派莎克
 美国Armstrong阿姆斯壮
 德国ARI雅瑞阀门系列
 日本KTM(凯特姆)阀门
 台湾富山FUSAN阀门
 美标、德标、日标阀门
 日本耀希达凯阀门
 日本阀天VENN阀门系列
 进口品牌
 疏水阀产品
 呼吸阀产品
 排泥阀产品
 闸阀--产品
 球阀--产品
 过滤器产品
 调节阀产品
 柱塞阀产品
 水力控制阀系列
 楼宇自控阀系列
 不锈钢阀门
 燃气阀/放料阀
 保温阀门系列
 波纹管阀门系列
 截止阀
 排气阀
 通用阀门系列
 减压阀产品
 隔膜阀产品
 阻火器产品
 止回阀产品
 蝶阀
 电磁阀产品
 穆科塑胶阀门产品
 氨用阀门系列
 进口阀门
 氧气阀产品
 旋塞阀产品
 消防专用阀门
 针型阀产品
 铜阀门产品
 安全阀产品
 衬氟阀门
 液压阀门
 视镜
 陶瓷阀门
 底阀
 管夹阀
 业务联系
 人才招聘
 客服电话
 在线联系
   首页 - 产品展厅 - 产品介绍  
  产品名称: 沟槽式蝶阀
  产品型号: SJKD3、SJKD、SJKE、SJKXHD
  沟槽式蝶阀
 
  咨询电话:021-24282160 李工
 相关产品
 沟槽式隔膜雨淋阀
 沟槽式蝶阀
 沟槽式缓闭消声止回阀
 沟槽式可调节式减压稳压阀
 

沟槽式蝶阀  销售热线:021-24282160    

沟槽式蝶阀主要订货须知参数:

口径:DN50-600

压力:PN10、16、25

连接方式:卡箍式、沟槽式

阀体材质:铸铁、球铁

沟槽式蝶阀产品简介
该阀是采用国外先进技术及本公司多次改进设计。它具有安装迅速、简易可靠、重量轻、操作灵活、维修方便等到优点。良好密封性,又具备与管件连接所希求的快捷性。可广泛应用于给排水、消防、石油、化工、医药、钢铁等管路上作为截断或调节之用。
沟槽式蝶阀沟槽式蝶阀特点

1、沟槽式蝶阀结构紧凑、体积小、重量轻、操作灵活、维修方便;
2、密封性能可靠、不受介质注射限制(双向密封);
3、过流面积大、流阻系数小、流通能力大;
4、蝶板采用整体包胶抗老化抗辐射、经久耐用。

蜗轮式蝶阀SJKD3
手柄式蝶阀SJKD
电动式蝶阀220V SJKE
信号式蝶阀SJKXHD

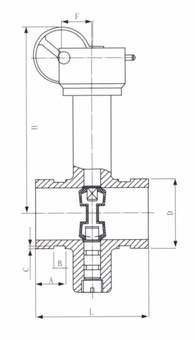
公称通径

DN(mm)

L

D

A

B

C

H

SJKD

SJKD3

SJKXHD

SJKE

50

88

57

14.5

9.5

2.2

120

170

250

160

60

65

90

76

14.5

9.5

2.2

130

180

260

170

80

96

89

14.5

9.5

2.2

150

200

280

190

100

115

108

16

9.5

2.2

180

230

310

220

114

150

132

159

16

9.5

2.2

210

260

340

260

165

168

200

147

219

19

13

2.5

250

320

400

290

250

159

273

19

13

2.5

350

430

350

300

165

325

19

13

25

390

470

390

350

165

377

25

13

33

440

520

440

400

170

426

25

13

5.5

510

590

510

450

180

480

25

13

5.5

540

620

540

500

180

530

25

13

5.5

585

665

585

600

210

630

25

13

5.5

650

730

650

联系电话:021-24282160   联系手机:15921203072/李工
图纸传真:021-24282160   在线QQ:2964859854                                                                          公司邮箱①:15921203072@163.com                                                                                              上海穆科阀门厂:http://www.mukevalve.com/
穆科产品适用于各个行业中的水、油、气、蒸汽等管道。常规产品常年备有现货,可通过快捷的运输方式交到客户手中。

友情连接: 富山阀门 | 阀门 | 阀门 | 上海阀门 |

上海穆科阀门有限公司版权所有 地址:上海闵行莘庄工业区
电话:021-24282160传 真:021-24282160